
MIL-PRF-53013B
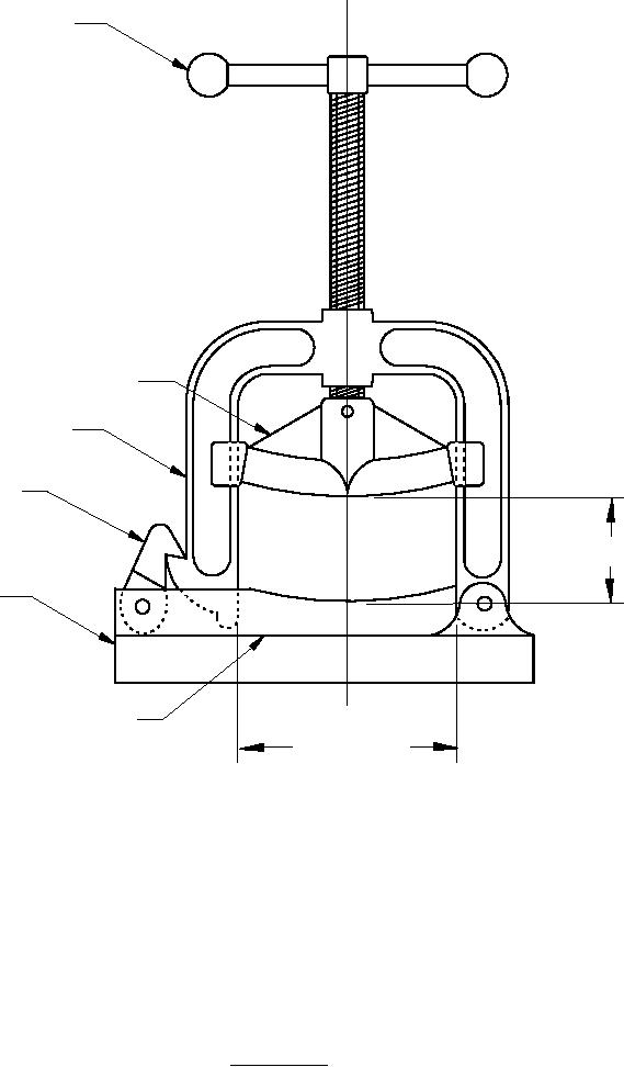
Screw Handle
Crosshead
Frame
Fastener
6.50 Min
Base
Lower jaw
11.50 Min
NOTE: Dimensions are in inches.
FIGURE 1. Hose Clamp - Example.
7
For Parts Inquires call Parts Hangar, Inc (727) 493-0744
© Copyright 2015 Integrated Publishing, Inc.
A Service Disabled Veteran Owned Small Business